高性能模数、数模混合集成电路设计解决方案供应商深圳芯海科技日前正式发布了一款符合国网新标准的单相多功能计量芯片CSE7780。该芯片是芯海科技继推出高精度单相有功功率计量芯片CSE7755B实现低成本电表方案,以及填补国内数模混合三相电能计量芯片空缺的三相电能计量芯片CSE7752后,又成功推出的能够测量电压有效值、电流有效值、平均有功功率等各种电网参数,且具有防窃电功能的单相多功能计量芯片。与传统电能表相比,智能电表在精度的要求上也比以往更加严格,要求测量的范围也更宽,除了能够准确计量电量外,还要求能够测量电压、零线与火线电流、功率等电参量。CSE7780完全满足了这些应用需求,并符合国家电网的新标准要求。
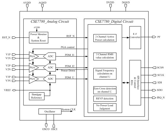
CSE7780采用了芯海科技成熟的3 路Σ-△技术,可分别用于相线电流采样、零线电流采样以及电压采样。在动态范围(2000:1)内,CSE7780能够提供两路电流有效值、一路电压有效值,非线性误差小于0.1%;在动态400:1的范围内,CSE7780还能保持小于0.5%的有效值误差。除了高精度和高稳定性外,CSE7780还提供了丰富的应用功能,诸如有功功率、有功能量、电流有效值、电压有效值、线频率、过零中断等功能,同时还提供全数字增益、相位、失调校准,有功能量脉冲从PF管脚输出等。“CSE7780的另一优势在于能够运用软件校表,CSE7780 提供了包括电表常数(HFConst)可调、A/B 通道的增益校正和一致性校正、A/B通道的相位校正、A/B通道的有功和有效值offset校正、小信号加速校正功能、校表数据自动校验功能在内的6种软件校表功能,经过校正的仪表,有功精度可达0.5S 级。”芯海科技设计部总监刘小灵指出。
图1:CSE7780内部结构框图
在过去的几年里,数字电表计量芯片一直被ADI、TI、TDK、Cirrus Logic等国际公司把持,本土方案提供商如何取信于用惯了“洋品牌”的电表生产厂商?“客户的对CSE7780的性能和稳定性完全可以放心,”刘小灵非常自信地解释道,“CSE7780经过了深圳计量院的整表测试,能够准确测量国网单相智能电能表各个参数,计量精度也完全满足要求。”据悉,基于CSE7780的整机方案还经过了EMC检测以及专业的第三方认证机构信测科技验证,在EMC等多方面均具有极佳的性能指标,完全符合新一代国网智能电能表的要求。为加强市场竞争实力,芯海科技还针对本土电表厂商组建了一支专家级应用研发队伍,为客户提供基于CSE7780的包括了软、硬件在内的完整参考设计(图2),客户只需按照自己的设计要求在参考设计上稍加修改就能够很快实现量产,可以大大缩短开发周期,加快产品上市。
图2:基于CSE7780的国网单相智能表参考设计
电力计量应用除了技术的高门槛外,市场的门槛某些时候可能更高,如何在这个国际厂商主导的领域成功攻城略地?对此,芯海科技似乎志在必得,“我们在电表领域已经耕耘多年,有丰富的客户基础与行业推广经验,”芯海科技营销部总监魏东指出,“我们将积极推行代理商的发展路线,与本土有实力的整机企业和IDH紧密合作,给客户提供更具综合竞争优势的“Turn Key ”方案,体现本土领先IC设计公司的优势。”在前不久举办的第22届电工仪器仪表展上,芯海科技就与长期服务于电表行业的芯海代理商上海本宏科技共同参展,向电表行业客户展示基于CSE7780的智能单相计量IC的优势。展出期间,极高的性价比以及成熟的产品方案受到很多电表客户的关注。